Трансформаторная подстанция МТПО — 4/10/0,23 с 1 фидером, без ОПН
МТПО однофазные мачтовые однотрансформаторные подстанции тупикового типа
Преимущества:
Мощность 4 (10) кВА
Прием энергии переменного тока на линиях ВН 6 (10) кВ
Напряжение отходящих фидерах НН 0,23 кВ
Функциональные особенности:
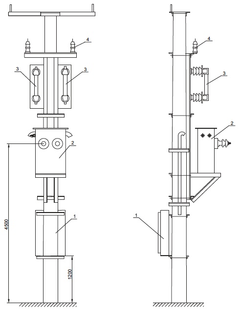
Установка, монтаж и подключение к сети осуществляются на одной опоре
Металлоконструкции для установки шкафа РУНН, силовых трансформаторов, высоковольтных ограничителей перенапряжения и высоковольтных предохранителей в базовом комплекте подстанции
Условия эксплуатации:
Температура окружающего воздуха:
для умеренного климата от -45˚ С до +40˚С (исполнение У)
Относительная влажность воздуха не более 80% при +25˚С.
Высота над уровнем моря до 1000м
Окружающая среда без вибраций, не взрывоопасная, без воздействия химических веществ.
Условные обозначения:
МТПО — 10/10/0,23
МТПЖ — мачтовая трансформаторная подстанция железнодорожная
10 — мощность (кВа)
10 — напряжение обмотки ВН (кВ)
0,23 — напряжение обмотки НН (кВ)
